|
Пуазейль, исследуя ламинарное течение жидкости по капиллярным трубкам, получил следующую формулу для - объема жидкости, протекшей через капилляр за время :
,
где h - коэффициент вязкости,
- давление, под которым течет жидкость,
r - радиус капилляра,
l - длина капилляра.
Формулой Пуазейля можно воспользоваться для определения коэффициента вязкости.
Пусть через капилляр протекают одинаковые объемы двух различных жидкостей. Для первой
, (1)
для второй
. (2)
Разделив (1) на (2), получим:
. (3)
Если жидкость вытекает под действием своего веса, то
(4)
так как

и
,
где - высота столбов жидкости, создающая разность давлений при течении первой и второй жидкости.
Описание установки

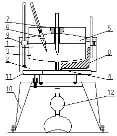
Вискозиметр состоит из резервуара для испытуемой жидкости - 1, водяного термостата 2. На внутренней стенке резервуара 1 укреплены три штифта - 3. Штифты заострены и изогнуты под прямым углом. Острия штифтов служат указателем предельного уровня жидкости, наливаемой в резервуар и указателем горизонтальности установки прибора. Ко дну резервуара, в его центре, припаяна калиброванная сточная трубка 4 из нержавеющей стали с тщательно отполированной поверхностью - капилляр. Резервуар 1 закрывается пустотелой крышкой 5 с двумя сквозными отверстиями. Отверстие 6 служит для установки термометра, измеряющего температуру исследуемой жидкости. Отверстие 7-для стержня, закрывающего отверстие сточной трубки.
Резервуар 1 укрепляется в термостате специальными распорками. В термостате находится мешалка 8 и зажим 9 для закрепления термометра, измеряющего температуру воды термостата.
Термостат 2 с резервуаром 1 устанавливается на металлическую треногу 10. Две ножки треноги снабжены винтами для установки прибора в горизонтальном положении. В верхнее кольцо вмонтирован электрический нагреватель 11.
Объем испытуемой жидкости, вытекающей через сточную трубку вискозиметра, измеряется мерной колбой 12.
Выполнение работы
Перед каждой сменой жидкости резервуар 1 и его сточную трубку тщательно промывают (бензином, эфиром) и просушивают воздухом.
Вытирать резервуар вискозиметра нельзя. Оставшиеся капли жидкости осторожно снимают фильтровальной бумагой. (Студентам производить смену жидкости запрещено).
В термостат вискозиметра наливают воду.
Испытуемую жидкость наливают в резервуар 1, сточное отверстие которого закрыто стержнем. Нельзя сильно нажимать на стержень, т.к. это ведет к быстрому его износу.
Уровень жидкости должен быть несколько выше остриев штифтов. При наливании жидкости в резервуар нужно следить, чтобы не образовались пузырьки.
Подняв немного стержень, дают стечь излишку жидкости из резервуара, так, чтобы острия всех штифтов едва заметно выдавались над уровнем жидкости. Если жидкость вытечет больше, чем нужно, следует добавить её по каплям до концов остриев. Закрывают вискозиметр крышкой и под сточное отверстие ставят измерительную колбу. Включают электрический нагреватель. Жидкость в резервуаре непрерывно перемешивают, осторожно вращая вокруг стержня крышку резервуара.
Температуру исследуемой жидкости доводят до заданной, нагреватель выключают и выжидают 15-30 минут.
Температура исследуемой жидкости и термостата должна отличаться не более чем на .
Затем быстро вынимают стержень и одновременно включают секундомер. Когда жидкость в измерительной колбе дойдет точно до метки, соответствующей 200 мл (пена в расчет не принимается), секундомер останавливают и отсчитывают - время истечения жидкости с точностью до 0,2 сек.
Относительную вязкость испытуемой жидкости вычисляют по формуле
,
где - время вытекания через сточную трубу прибора 200 мл. дистиллированной воды при 20°С.
У данного вискозиметра сек.
Измерения производятся в интервале от комнатной температуры до приблизительно через каждые .
Вычисляют значение и строят график зависимости от температуры .
|